WIPO Publishes Patent of South Korean Wind Power Invention

Technology

WIPO Publishes Patent of South Korean Wind Power Invention

The World Intellectual Property Organization (WIPO) published a patent of a pitch bearing of a wind power generator on March 21, which was designed by a Korean inventor Yong Chun Kim.

Besides Mr. Kim, South Korean company Daewoo Shipbuilding & Marine Engineering Co., Ltd (DSME) is registered as an applicant of the patent.

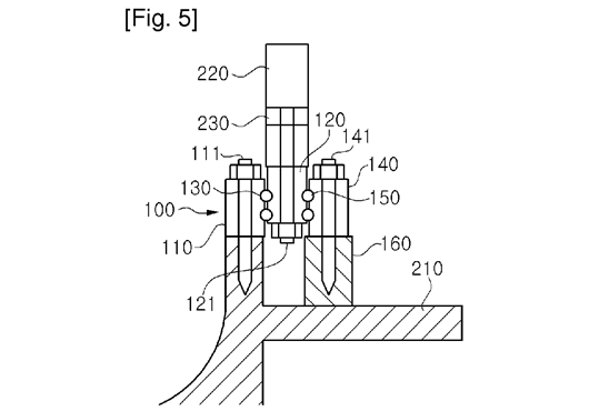
The summary on the invention says:

The present invention relates to a pitch bearing of a wind power generator, which improves reliability of the combination between a blade root for constituting a rotor and a hub by distributing a load applied to a pitch bearing so as to increase the durability of the pitch bearing.

The pitch bearing of the wind power generator, according to the present invention, includes: an outer ring fixed to a hub using a first blade bolt; an inner ring which is located to be rotatable at both sides of a plurality of first balls at an inner circumference of the outer ring and is fixed to a blade root using a second blade bolt; and a rotational supporting member which rotatably supports the inner ring at both sides of a second ball and is fixed to the hub using a third blade bolt.

[mappress]

Offshore WIND Staff, March 25, 2013; Image: WIPO