USA: Guam Perfect for Drilled Hydrothermal Energy, Innovator Says

R&D

USA: Guam Perfect for Drilled Hydrothermal Energy, Innovator Says

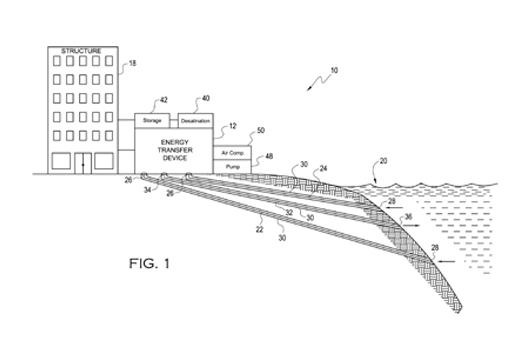
Cotherm of America Corporation’s managing director Ted Jagusztyn, who holds a patent for drilled hydrothermal energy (DHE) technology, has set his eyes on developing this kind of energy infrastructure on the island of Guam, USA.

He visited the island of Guam, where he met with the Guam Power Authority, the University of Guam, and Guam Environmental Protection Agency. Mr. Jagusztyn is proposing to the U.S. Navy to do a techno-economic analysis at the Naval Base Guam.

It is estimated that if the Navy would pilot the program on the island, the costs would amount to USD 2,000 a foot to drill a 21-foot tunnel. “I think Naval Base Guam is the most perfect place in the world because you have a customer; they need power, they need cooling and they need fuel,” Kuam News cites Mr. Jagusztyn as saying.

The DHE technology is based on the same techniques as the one for oil-drilling, but it involves drilling for warm seawater. This is how Mr. Jagusztyn explains it: “You drill down a thousand meters or 3,000 feet and you get very cold water, it’s 39 degrees Fahrenheit or if you prefer Celsius its 4 degrees and then you also drill to the surface or underneath the surface and you get very warm water and Guam is one of the best places in the world to get energy from temperature difference.”

According to him, Guam could become self-sustainable by using this technology, as it would take 90% less than what is paid today to power up the island.

[mappress]

Offshore WIND Staff, September 18, 2013; Image: cotherm